罗永浩,被冻结713万元股权
据记者从国家企业信用信息公示系统网站获悉,1月20日,罗永浩新增一则股权冻结信息,股权所在企业为锤子科技(成都)股份有限公司,冻结股权数额713万余元,冻结期限自2026年1月20日至2029年1月19日,执行法院为北京市丰台区人民法院。
据记者从国家企业信用信息公示系统网站获悉,1月20日,罗永浩新增一则股权冻结信息,股权所在企业为锤子科技(成都)股份有限公司,冻结股权数额713万余元,冻结期限自2026年1月20日至2029年1月19日,执行法院为北京市丰台区人民法院。
天眼查数据显示,锤子科技(成都)股份有限公司成立于2012年5月,法定代表人为管志良,注册资本约3149.8万人民币,经营范围含基础软件服务、应用软件服务、组织文化艺术交流活动、维修通讯设备、生产手机等。
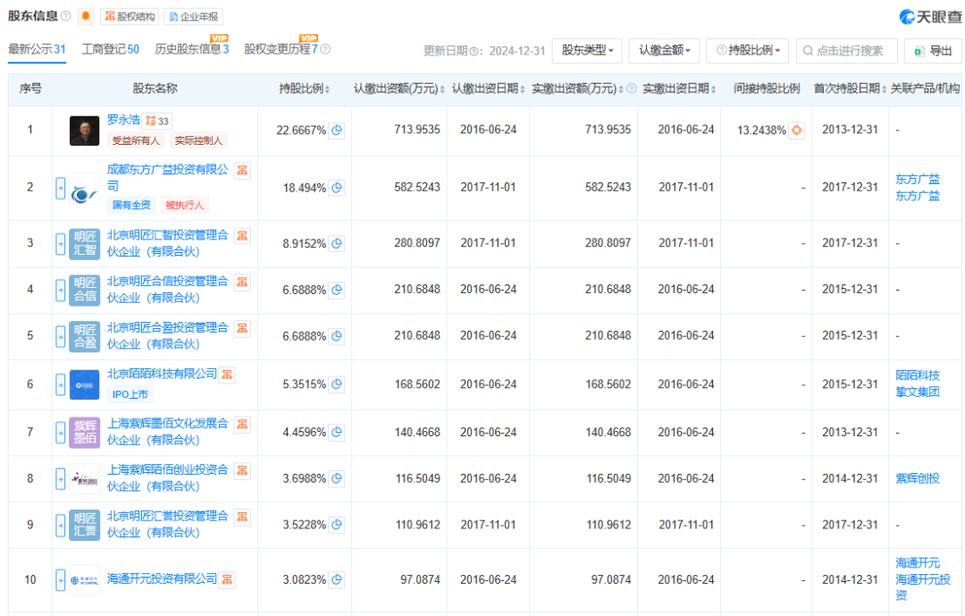
股东信息显示,该公司由罗永浩、成都东方广益投资有限公司、北京明匠汇智投资管理合伙企业(有限合伙)等共同持股。


天眼查数据显示,锤子科技(成都)股份有限公司成立于2012年5月,法定代表人为管志良,注册资本约3149.8万人民币,经营范围含基础软件服务、应用软件服务、组织文化艺术交流活动、维修通讯设备、生产手机等。

股东信息显示,该公司由罗永浩、成都东方广益投资有限公司、北京明匠汇智投资管理合伙企业(有限合伙)等共同持股。

①凡本网注明来源:“一周评讯”的所有作品,版权均属于一周评讯,未经一周评讯协议授权不得转载、链接、转帖或以其他方式发表,已经一周评讯授权的媒体、网站,在使用时必须注明来源“一周评讯”。
②如本网转载稿涉及版权等问题,请作者来电或来函与一周评讯联系,我们将及时处理解决。联系方式:xzgxjilin@vip.sina.com
- ·公关策划; “一周评讯”在分秒之间把信息迅速精准的传播出去。当企业需要危机公关时,一周评讯可以几小时内同时在数十家知名媒体上发布公告,以此将企业的损失降至低。
- 新闻资讯发布 通过“一周评讯”新闻通发服务,在网络上做大范围的发布,扩大舆论影响,在提高关注度的同时结合相关产品推广同步进行。
- 活动策划执行; 包含活动主题、活动目的、活动内容、活动执行细节要求与安排、物料需求、人员安排、费用预算、突发状况应对事项。直白点说,就是整个活动在你脑海里已经有一个整体的、完整的内容及过程。
- 网站开发代运营 公众平台第三方开发、APP定制、企业展示型网站建设、营销型网站建设、 网站升级改版、域名注册、商城类网站建设...
